Retroceder   TwistedAndes > 4WD > General 4WD

General 4WD foro técnico.

Respuesta
 
Herramientas
Antiguo 01-10-2008, 23:44:08   #11
DESERTICO
Senior Member
Top 1000
 
Avatar de DESERTICO
 
Fecha de Ingreso: May 2006
Ubicación: Viña del Mar
Edad: 57
Mensajes: 1.980
Predeterminado Re: Tlc Fj70

Ideas. Si eliminas el parachoques delantero... te compro o permuto las partes.
Imágenes Adjuntas
      
DESERTICO está offline   Responder Con Cita
Antiguo 02-10-2008, 10:17:35   #12
EARLY BRONCO
Member
Top 500
 
Fecha de Ingreso: Feb 2006
Ubicación: Concepción
Mensajes: 711
Predeterminado Re: Tlc Fj70

buenas las ideas de parachoques

acá dejo unas fotos del anclaje del parachoques para ideas







ordenando atrás encontré un bolso





si alguien tiene un dato de una bomba de bencina para el 3f urgente se agradece

saludos
EARLY BRONCO está offline   Responder Con Cita
Antiguo 02-10-2008, 12:59:17   #13
Hilux Surf-Vigo
Senior Member
Top 5000
 
Fecha de Ingreso: Dec 2004
Edad: 34
Mensajes: 5.590
Predeterminado Re: Tlc Fj70

El bolso es el de las herramientas.

La bomba de combustible es la 23100-61080
Hilux Surf-Vigo está offline   Responder Con Cita
Antiguo 02-10-2008, 13:18:20   #14
Hilux Surf-Vigo
Senior Member
Top 5000
 
Fecha de Ingreso: Dec 2004
Edad: 34
Mensajes: 5.590
Predeterminado Re: Tlc Fj70

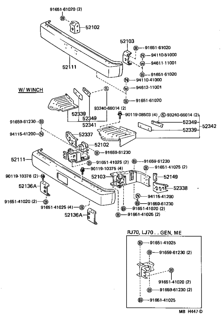
Tambien me olvidaba que el Sub-chasis del winche se puede retirar, ya que va apernado y luego se instala el parachoques original.
Hilux Surf-Vigo está offline   Responder Con Cita
Antiguo 02-10-2008, 13:26:07   #15
Roland
Senior Member
Top 5000
 
Avatar de Roland
 
Fecha de Ingreso: Oct 2003
Ubicación: Santiago, Chile
Edad: 56
Mensajes: 7.424
Contactar con Roland a través de MSN
Predeterminado Re: Tlc Fj70

Cita:
Empezado por Hilux Surf-Vigo Ver Mensaje
Tambien me olvidaba que el Sub-chasis del winche se puede retirar, ya que va apernado y luego se instala el parachoques original.


Eso, y al retirar el subchasis del PTO, puedes anclarlo directamente el el chasis, haces un bumper como el de las fotos o similar y eso te hace ganar algo de angulo de ataque.

Claro, que el bumper en los costados va inclinado hacia atras.

Tienes que cambiar ese roller para poder hacer eso, con eso ganas buenas pulgadas menos.

Ahora, si no quieres el PTO, te lo cambio por el winh que tengo en el mio....
Roland está offline   Responder Con Cita
Antiguo 02-10-2008, 13:45:09   #16
OAM
Senior Member
Top 5000
 
Avatar de OAM
 
Fecha de Ingreso: Jun 2003
Ubicación: CONCEPCION
Edad: 52
Mensajes: 6.212
Predeterminado Re: Tlc Fj70

El Bumper del penultimo TLC de las fotos esta filete, esa es la idea pero mas de planchas plegadas que de tubos.
OAM está offline   Responder Con Cita
Antiguo 02-10-2008, 13:59:19   #17
pele
Member
Top 100
 
Fecha de Ingreso: Jun 2004
Ubicación: Santa Cruz _BOLIVIA
Mensajes: 204
Predeterminado Re: Tlc Fj70

lo mas facil seria q sacaras la plancha en forma de u q va hacia adelante donde se fija el roller y cortes a los lados ahorrarias unos buenos cm y encima le haces un bumper de lamina corriendo las puntas hacia atras ya q si t fijas es dificil correlo hacia atras, cosa q seria posible con n electrico ya q el PTO aparte de grande ya casi toca con el frontal del TLC.
algo asi como esto seria la idea, pero obviamente se puede hacer menos aparatoso y mas corrido hacia atras para ganar angulo de ataque y con las puntas acia atras como este:
http://www.4wdworld.com.au/products/...ches/index.htm
pele está offline   Responder Con Cita
Antiguo 02-10-2008, 18:06:21   #18
Hilux Surf-Vigo
Senior Member
Top 5000
 
Fecha de Ingreso: Dec 2004
Edad: 34
Mensajes: 5.590
Predeterminado Re: Tlc Fj70

Hilux Surf-Vigo está offline   Responder Con Cita
Antiguo 07-10-2008, 09:10:18   #19
EARLY BRONCO
Member
Top 500
 
Fecha de Ingreso: Feb 2006
Ubicación: Concepción
Mensajes: 711
Predeterminado Re: Tlc Fj70

Cita:
Empezado por Hilux Surf-Vigo Ver Mensaje
El bolso es el de las herramientas.

La bomba de combustible es la 23100-61080
gracias me fue mucho más fácil encontrar la bomba correcta con el n° de parte, ya está andando bien, hoy una carburadita y a la revisión a probar suerte

Otra consulta, le haré nueva la línea de escape, que diámetro será el más adecuado para el 3f

saludos
EARLY BRONCO está offline   Responder Con Cita
Antiguo 07-10-2008, 09:28:28   #20
Roland
Senior Member
Top 5000
 
Avatar de Roland
 
Fecha de Ingreso: Oct 2003
Ubicación: Santiago, Chile
Edad: 56
Mensajes: 7.424
Contactar con Roland a través de MSN
Predeterminado Re: Tlc Fj70

Cita:
Empezado por pele Ver Mensaje
lo mas facil seria q sacaras la plancha en forma de u q va hacia adelante donde se fija el roller y cortes a los lados ahorrarias unos buenos cm y encima le haces un bumper de lamina corriendo las puntas hacia atras ya q si t fijas es dificil correlo hacia atras, cosa q seria posible con n electrico ya q el PTO aparte de grande ya casi toca con el frontal del TLC.
algo asi como esto seria la idea, pero obviamente se puede hacer menos aparatoso y mas corrido hacia atras para ganar angulo de ataque y con las puntas acia atras como este:
http://www.4wdworld.com.au/products/...ches/index.htm
Revisa el post sobre mi TLC. Yo corte parte del frontal para llevar el winche mas hacia atras y así poder obtener mejor ángulo de ataque.

Creo que con el PTO tambien se puede hacer, además que se podría bajar una o dos pulgadas y para funcionar lo unico que hay que hacer es recortar el cardan auxiliar del toma de fuerza.
Roland está offline   Responder Con Cita
Respuesta

Compartir en Redes Sociales


Normas de Publicación
Tu no puedes publicar nuevos temas
Tu no puedes publicar respuestas
Tu no puedes adjuntar archivos
Tu no puedes editar tus posts

Codigo BB is habilitado
Las caritas están habilitado
Código [IMG] está habilitado
Código HTML está deshabilitado

Saltar a Foro


La franja horaria es GMT -3. Ahora son las 21:16:55.


Powered by: vBulletin, Versión 3.8.11
Derechos de Autor ©2000 - 2025, Jelsoft Enterprises Ltd.
Copyright Twisted Andes. Todos los derechos reservados.